据外媒报道,monoDrive公司是激光雷达、雷达、摄像头、转速(RPM)、全球定位系统(GPS)和惯性测试单元(IMU)传感器(用于自动驾驶汽车行业)的实时、高保真模拟器领导者。近日,该公司推出其首款产品,超高保真(UHF)模拟器。 [详细]
Arm今天宣布推出 “安全就绪”(Arm Safety Ready)计划,及全球首款集成功能安全的自动驾驶级处理器——专为汽车行业设计的全新产品Arm Cortex-A76AE。[详细]
据报道,7月25日,美团发布无人配送开放平台,将自动驾驶技术运用到外卖配送,以应对不断上涨的快递员成本。据了解,为其提供无人自动驾驶机器人的公司之一是赛格威机器人。[详细]
据外媒报道,韩国三星(Samsung)公司申请了一项新型自动驾驶员培训模型专利,该公司希望继续在自动驾驶领域实现发展。
据外媒报道,福特申请了一项新专利,可以让自动驾驶汽车看起来跟现在的普通汽车一样。
据外媒报道,美国专利商标局公布了苹果公司(Apple)的一项与其泰坦项目(Project Titan)、自动驾驶汽车和系统相关的专利申请。
据外媒报道,美国汽车制造巨头通用汽车(GM)已经提出一项区块链(blockchain)专利,用于管理自动驾驶车辆的数据。
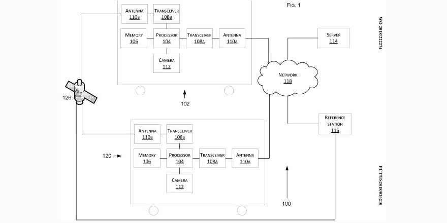
特斯拉(Tesla)研发了一种技术,可通过在车辆之间共享数据,从而实现更准确的定位。本周,美国专利商标局公布了该专利。
如今,美国专利局(United States Patent Office)已授予Lyft公司一项专利,称为自动驾驶车辆通知系统。
自动驾驶之城北京篇:先完成1000亿元“小目标” 在全球层面,各国围绕自动驾驶展开激烈角逐;在国内范围,各大城市对于发展自动驾驶亦是十分积极。那么,在自动驾驶之城的竞争中,谁将脱颖而出呢?我们聚焦北京。 [详细] 2018-10
自动驾驶之城广州篇:发展智能网联汽车电子产业 在全球层面,各国正围绕自动驾驶展开激烈角逐;在国内范围,各大城市对于发展自动驾驶亦是十分积极。那么,在自动驾驶之城的竞争中,谁将脱颖而出呢?我们聚焦广州。 [详细] 2018-10
自动驾驶之城杭州篇:阿里无人车“浮出水面” 在汽车产业变革新形势下,全球各国正围绕自动驾驶展开激烈角逐;国内各大城市对于发展自动驾驶亦是十分积极。那么,谁将赢得自动驾驶之城的竞争呢?我们聚焦杭州。 [详细] 2018-10
自动驾驶之城上海篇:首度颁发自驾卡车路测牌照 在全球层面,各国围绕自动驾驶展开激烈角逐;在国内范围,各大城市对于发展自动驾驶亦是十分积极。那么,在自动驾驶之城的竞争中,谁将脱颖而出呢?我们聚焦上海。 [详细] 2018-10
自动驾驶之城重庆篇:丰富交通场景造就天然考场 在汽车产业变革新形势下,全球各国正围绕自动驾驶展开激烈角逐;国内各大城市对于发展自动驾驶亦是十分积极。那么,谁将赢得自动驾驶之城的竞争呢?我们聚焦重庆。 [详细] 2018-11
自动驾驶之城长沙篇:将率先落地自动驾驶出租车 近年来,着眼于汽车产业变革新形势,各国围绕自动驾驶展开了激烈角逐;在国内,各大城市亦是积极布局自动驾驶。那么,自动驾驶之城的竞争谁将获胜呢?我们聚焦长沙。 [详细] 2018-11